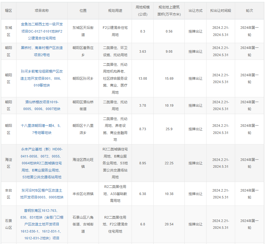
2月21日,北京市规自委推出2024年第一批次集中拟供应商品住宅土地清单,共计23宗地块,分布于东城区、朝阳区、海淀区、丰台区等多个区域,土地面积约140公顷,建筑规模285万平方米。该批土地拟出让时间为2月21日至5月31日。此次北京加大了优质地块的供应,有9宗地块、54公顷位于中心城区,占比约四成。
在2024年第一批次集中拟供应商品住宅土地清单中,东城区天坛街道推出1宗宅地,为金鱼池二期西土地一级开发项目DC-0127-0101地块F2公建混合住宅用地,规划地上建筑面积仅为0.56万平方米。
海淀区推出永丰产业基地(新)HD00-0411-0058、0072、0055、0064地块,其中包括二类城镇住宅用地、商业服务业用地、地面公共交通场站用地,规划地上建筑面积达到22.25万平方米。
朝阳区推出4宗宅地,其中一宗地块为酒仙桥棚改项目1019-0005、0006、0007地块,规划地上建筑面积为10.19万平方米。
此外,通州区推出3宗宅地;石景山、大兴区、昌平区、房山区、亦庄均分别推出2宗宅地;丰台区、怀柔区、密云区、顺义区各计划推出1宗宅地。
从推出地块整体来看,北京第一批次加大了优质地块的供应,有9宗地块、54公顷位于中心城区,占比约四成;有12宗地块、69公顷位于北京城市副中心和平原多点地区,占比约五成;有2宗地块、17公顷位于生态涵养区,占比约一成。此外,此次清单中有近九成项目位于轨道交通站点周边、“两区”与“三城一区”范围以及城南计划覆盖区域等重点功能区,着力引导产城融合,推进职住平衡。
北京市规划和自然资源委员会相关负责人表示,北京2024年将继续做好拟供项目信息发布工作,通过“多频少量”供应方式保持供地节奏均衡,优化“房地联动”促进市场预期稳定,为首都经济社会高质量发展提供要素保障。
来源:新京报
您当前使用的浏览器版本过低,可能存在安全风险,建议升级浏览器,或者用以下浏览器浏览声明:本站内容来源于网络或叭楼会员发布,叭楼只作为信息发布平台,版权归原作者所有,本站不承担任何图片、内容、观点等内容版权问题,如对内容有歧义,可第一时间联系本站管理员发送邮件8309272@qq.com或者扫码微信沟通,经核实后我们会第一时间删除。




















暂无评论内容