排序
北京29宗新地出炉!三环太阳宫、海淀永丰南何时挂出?
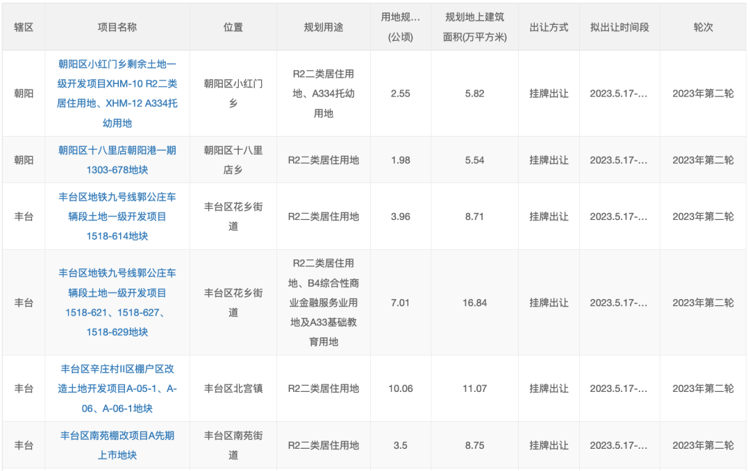
这还没完,一批没等拍完,二批次拟供应清单也出来了,一共29宗地块,最晚将于9月初发布出让公告...... 这一批次加大了在副中心和平原多点地区的供地规模,有18宗,占比65%。所以师妹目测还会有...
6月14日土拍北京链家观点
此次出让的海淀双新村003-1、004-1、顺义幸福西街6022、6023-1地块将北京土地市场的热度再次推高,3宗地分别吸引30、31、21家房企参与竞拍,最终分别由越秀、天恒正同和石家庄创世纪摇号竞得。2...
北京顺鑫颐和天璟怎么样?有什么优势?
顺鑫颐和天璟怎么样?有什么优势?优势一,开发商值得信赖。顺鑫颐和天璟项目位于顺义新城,是由顺鑫控股旗下子公司顺鑫佳宇房地产开发有限公司打造的低密度花园别墅社区,北京顺鑫佳...
北京买房攻略!预算200-500万在北京买房怎么选?高性价比楼盘推荐
北京房价一直在全国来说,都是比较靠前的,北京市的房价从东部的朝阳区和海淀区开始递增,向西和西北方向逐渐降低。同时,靠近市中心的地段房价较高,而郊区的房价相对较低。对于...
2023北京新房成交排行榜最新出炉!北京新房均价多少钱一平?
北京的新房项目涵盖了各种不同类型的住宅,包括公寓、别墅和联排别墅等。这些新房项目通常拥有现代化的设施和高品质的建筑材料,以满足购房者对舒适和便利的需求。那2023北京新房...
北京楼市:当下抗跌指数较高的房子
大家好,我是京爷,一名北京房产实操专家,拥有十年房地产行业经验,是少有的能够切入北京房产全流程交易与大数据分析的咨询师!以下为公众号提问精选:1、提问:京爷好,600万左右预算,请问是...
北京瑞府值得买吗?打造建面约132-188平三居四居豪宅
北京瑞府值得买吗?北京瑞府是华润置地北京深耕城市28载之后,重回内城时代,携源远流长品质产品力集大成之作,落址首都功能区门户,核聚金融街资本能极,立序世界的审美表达,...
北京中海寰宇视界怎么样?西五环临铁准现房,值得买!
北京中海寰宇视界怎么样?中海寰宇视界作为西五环外、在售智能临铁小户型,紧邻永定河,设有台地园林,园林里设置户外办公区域,且智能化社区能实现无感入园,是值得购买的,关于...




















