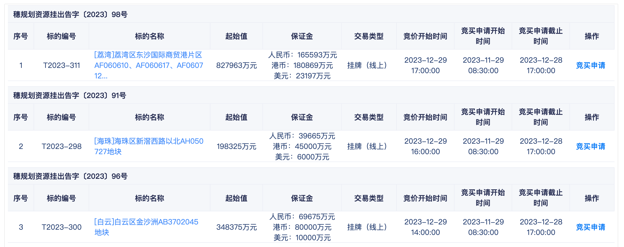
11月29日, 广州市规划和自然资源局发布国有建设用地使用权网上挂牌出让公告,挂牌出让3宗涉宅用地,3宗地块起始总价约137.47亿元。
按照出让公告,3宗地块分别位于荔湾区、海珠区、白云区,3宗地块均未设置土地最高限价,均按价高者得原则确定竞得人,限时竞价时间为2023年12月29日。
其中,海珠区新滘西路以北AH050727地块的出让宗地面积为13323平方米,计算容积率建筑面积为53520平方米,挂牌起始价198325万元,折合起始楼面价37056元/平方米,用地性质为二类居住用地。

荔湾区东沙国际商贸港片区AF060610、AF060617、AF060712、AF060715、AF060720地块为住宅、商业用地,其中,AF060617地块、AF060610地块为二类居住用地R2;AF060712地块、AF060720地块为二类居住用地R2,商业用地B1,商务用地B2兼容;AF060715地块为二类居住用地R2,商业用地B1,商务用地B2兼容交通场站用地S4。该地块计算容积率建筑面积为322004平方米,挂牌起始价827963万元,折合起始楼面价25713元/平方米。
白云区金沙洲AB3702045地块的出让宗地面积为55061平方米,计算容积率建筑面积228158平方米,挂牌起始价348375万元,折合楼面价15269元/平方米,用地性质为二类居住用地。
来源:澎湃新闻
您当前使用的浏览器版本过低,可能存在安全风险,建议升级浏览器,或者用以下浏览器浏览声明:本站内容来源于网络或叭楼会员发布,叭楼只作为信息发布平台,版权归原作者所有,本站不承担任何图片、内容、观点等内容版权问题,如对内容有歧义,可第一时间联系本站管理员发送邮件8309272@qq.com或者扫码微信沟通,经核实后我们会第一时间删除。





















暂无评论内容